空氣冷卻器系列
FL型空氣冷卻器
        發布時間:2018-04-19  點擊次數:18694 次
      
       
	       FL型空氣冷卻器是液壓系統常用的一種空氣熱交換器。采用環境空氣作為冷卻源,用來冷卻管內熱油,屬于風冷式空氣冷卻器,以“風冷”的第一個字母命名,以換熱面積作為后綴。如FL-5,即表示該型號為風冷形式,換熱面積為5平方米。
FL系列空氣冷卻器主要用于行走機械(挖掘機、裝截機、叉車、起重機、聯合收割機、瀝青鋪攤機、筑路機械、工程車輛)并適用于液壓系統、a潤滑系統、冷卻系統等,將工作介質冷卻到要求溫度。
	
采用空氣作為冷卻介質有以下優點:
1、介質無污染 2、介質取之不盡 3、結構加單、無熱阻
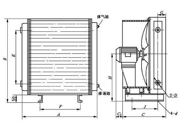
型號含義:
FL系列空氣冷卻器主要用于行走機械(挖掘機、裝截機、叉車、起重機、聯合收割機、瀝青鋪攤機、筑路機械、工程車輛)并適用于液壓系統、a潤滑系統、冷卻系統等,將工作介質冷卻到要求溫度。
采用空氣作為冷卻介質有以下優點:
1、介質無污染 2、介質取之不盡 3、結構加單、無熱阻
型號含義:

空氣冷卻器性能參數
1、傳熱系數:<=55W/M2℃
2、設計溫度:100℃
3、工作壓力:1.6MPA
4、壓力降:0.1MPA
制造工藝形式
1、整體銅軋制螺旋翅片管
2、整體鋁軋螺旋翅片管
3、光管纏繞翅片,翅片可根據需要為鋁,鐵,銅
4、光管沖壓成型或高頻焊接
使用須知
1、液壓油通過冷卻器前,應裝有過濾器,以免引起管內堵塞。
2、最好是單獨循環回路,防止升壓過高。
3、設備啟動前,應檢查風機安裝是否正確,螺絲螺栓等緊固件是否松動等。
4、先啟動風機,再啟動循環熱油。
5、使用前先排凈管內空氣,以免影響換熱效果。
6、冬季停止使用時,應排凈管內介質,防止凍裂。
FL型空氣冷卻器同樣也適用于其它液體介質的冷卻,原則上受環境空氣的影響,即管內介質可冷卻的最低溫度會比環境空氣高5-10℃左右,以夏季最惡劣的工作環境35℃為例,經過換熱器的出口溫度在40-45℃左右,如果流量過大,或者換熱面積過小的話,出口溫度會更高。當需要的出口溫度較低時,應采用其它形式的冷卻器。
FL型空氣冷卻器采用銅鋁復合翅片管作為主要換熱元件,換熱能力較強,承壓能力也較高,本公司以FL5型作過破壞性試驗,當管內水壓在7Mpa時,管箱開始變形,但仍無滲漏,故常用壓力在1.0Mpa的工作壓力下,請放心使用。
相關產品

					
空氣冷卻器系列